IIn August of 1976, John Roselli would be found with his legs sawed off, and stuffed in a 55 gallon oil drum. His last meeting was with one of the conspirators in the Kennedy assassination-- Santos Trafficante. (Trafficante worked directly with Dulles, John Rosselli, and Sam Giancana in the attempts to kill Castro). The barrel was weighed down with chains, sealed and dumped in Dumbfoundling Bay off the Florida coast, but the gasses from the decomposing corpse caused it to rise to the surface.32 Just a few months before in April of 1976, he was grilled before the Church Committee on earlier claims regarding the Castro retaliation theory-- that Fidel Castro turned the CIA/Mafia hit teams against JFK when Robert Kennedy cracked down on the Mafia at home. The Mafia felt especially embittered and wrongly assumed that Dulles informed the Kennedys that Mafia hit men would be used in the attempts.
As Attorney General Robert Kennedy seriously attacked the mob for the first time in American history, a wily Castro would have enough of a case to turn these killers against Kennedy-- their unwitting employer at the Bay of Pigs. All Castro had to do was send the killers back to exact revenge, and he did, starting with Trafficante and Rosselli's men.
Thus it should be no surprise that the last attempt to kill Castro occurred during a motorcade using high-powered rifles, a triangulation of cross-fire, and a sniper on the roof of a tall Havana building. This modus operandi repeated itself exactly in Dallas.33 It bore the mark of Allen Dulles; who simply modified the same ambush he used in Cuba. The subsequent cover-up, the most complex phase involving key police, medical and forensic personnel that had to be planted or controlled beforehand, seemed based on the Stanton plan.
The Price of Success
After Lincoln and Kennedy's murders, a grim fate befell most of the conspirators. Much to his surprise, Booth survived only to die universally detested after a life in hiding. Stanton died four years after Lincoln; disgraced and alone, just like Laffayette Baker wrote in 1868.
Andrew Johnson, like Lyndon Johnson, would not serve a second term. Both would die ten years after the death of the murdered leaders.
The massive scale of the conspiracy served an important purpose: the 8 leading conspirators knew the president's murder would outrage the nation, and that only a large and complex conspiracy could divert and dilute ultimate responsibility from the key conspirators and actual mastermind. In Lincoln's case, only eight people knew all the conspirators.
Disloyal officers would put their subordinates in compromising positions to insure their silence. Hoover did this to his own agents when they were forced swallow The Great Lie; that Oswald acted alone, even as they picked up bullets proving there was several gunmen and interviewed scores of witnesses who heard the shots come from the Grassy Knoll.34 Or when they removed the front windshield, which had a bullet hole to verify that claim; which was kept in the White House basement during the Johnson administration. As a trophy of sorts, apparently.
Union General Lafayette Baker, a self-admitted conspirator in the Lincoln assassination, would die of arsenic poisoning after numerous assassination attempts and threats by Sergeant Silas T. Cobb, the officer who enabled the escape of Booth at the Navy Yard Bridge. Baker's doctor verified such poisoning by placing leeches behind the general's ears, and sure enough when they had their fill of blood they'd fall off dead.
|
How Hypnosis Works
"A basic psychological law applies to you and your subject and everyone else in the world. This is the basic psychological law that explains why hypnosis really works.
The concept or law is called the
fundamental law of attraction.
The fundamental law of attraction as it applies to hypnosis is as follows:
"Whatever you hold in your mind at any given time, your body moves toward that direction. Your body can be directed to move in a physical, mental, emotional or spiritual direction."
Think about eating your favorite food. Picture in your mind how wonderful it looks.
Picture in your mind the color and texture of the food. Think about how it feels as you chew it. Think about how your favorite food tastes and smells. Feel it in your mouth.
Notice how your mouth starts to fill with saliva as you think these thoughts. This is the law of attraction at work. You are holding the thoughts of your favorite food in your mind. As you think about it in great detail your body tends to move toward it by allowing the saliva to flow as if you are digesting the food in real life. Do you begin to salivate when walking by a bakery or in a movie theater when you smell the popcorn popping?
Notice how your body seems to be goal oriented. We will capitalize on that goal orientation of the body and the law of attraction as we progress..."
From: How to Hypnotize People And Other Living Things
By Wayne F. Perkins
A Family of Programmed Killers
Charles Manson, who programmed an entire "family" of assassins in a California desert with hypnosis and LSD-- used the same formula pioneered by the CIA in their MK-ULTRA mind control experiments.
RIGHT TO LEFT: Susan Atkins, Patricia Krenwinkel, and Leslie VanHouten. Susan Atkins actually tasted the blood of a pregnant Sharon Tate after stabbing her in the womb, neck, breast, and back to the "music" of her pleas. Manson and the Family were charged with seven murders, but the actual number may be over two dozen; including the murder of his own defense attorney, Ronald Hughes.
|
 |
|
|
|
Sharon Tate, butchered as she plead for the life of her unborn child. |
Manson's Programming: The Tate-LaBianca Murders
Folger's coffee heiress Abigail Folger. Aside from the obvious overkill, note the carved "M" in her abdomen in the autopsy photo to the left-- Manson's calling card. Though Sirhan's "trigger mechanism" was the phrase "port wine", Manson applied a Beatles song from the
The White Album, "Helter Skelter", which was written in blood in one of the crime scenes.
|
The Programmed Assassin: An Ancient Sc ience
In front of an envoy from Malek-Shah, a fedavi plunges a dagger into his own heart and another leaps off the tower upon orders from his programmer, Hassan Sabbah, "The Old Man of the Mountain". Sabbah had organised this secret society of Assassins, the Haschishin, in the 11th century at the time of the Crusades. The members of this sect, while intoxicated with haschish, would commit the most violent crimes or acts of daring; all upon a given cue by their leader.
|
DeMolay
When the Templars under Jacque DeMolay were disbanded by the Council of Vienne in France in 1311, among the charges leveled against them was that they had adopted the heretical teachings and practices of this Islamic sect, the Haschishin.
The Templars which fled to Scotland would become the Scottish Rite we know today. Haschish was also the same drug which Wilhelm Wulf, a Nazi psychological warfare specialist hired by the CIA after the war; experimented with in Nazi Germany and in the MK-ULTRA mind control program before the
CIA settled on LSD.
|
|
EXCERPT: March, 1999 Los Angeles Times
CIA's Gottlieb Ran LSD Mind Control Testing
Scientist, who died at 80, oversaw invention of devices for assassination and gave 'acid' to human guinea pigs.
By ELAINE WOO, Times Staff Writer
James Bond had Q, the scientific wizard who supplied 007with dazzling gadgets to deploy against enemy agents. The Central Intelligence Agency had Sidney Gottlieb, a Bronx-born biochemist with a PhD from Caltech whose job as head of the agency's technical services division was to concoct the tools of espionage: disappearing inks, poison darts, toxic handkerchiefs.
Gottlieb once mailed a lethal handkerchief to an Iraqi colonel and personally ferried deadly bacteria to the Congo to kill Prime Minister Patrice Lamumba. It wasn't his potions that eventually did in the two targets, but Gottlieb, once described by a colleague as the ultimate "good soldier," soldiered on.
Poisons
and darts were not his sole preoccupation
during 22 years with the CIA. He
labored for years on a project to unlock and
control the mysterious powers of
lysergic acid diethylamide, or LSD. Could it
be a potent spy weapon to weaken the
minds of unwilling targets?
In the 1950s and 1960s, answering that question was one of Gottlieb's missions in MKULTRA, the code name for the agency's secret experiments to probe the effects of mind-altering drugs. Chief among them was LSD, discovered by Dr. Albert Hofman, a Swiss chemist, in 1943.
By the early 1950s, the CIA, fearful of LSD falling into Soviet hands, had cornered the market on the drug, which in minute doses could produce overwhelming sensations ranging from kaleidoscopic acuity to temporary insanity. The agency also started to fund research, covertly funneling hundreds of thousands of dollars to academics in prestigious institutions around the country who tried the drug themselves and reported the results to Gottlieb...
Copyright 1999 Los Angeles Times Search the archives of the Los Angeles Times for entire document.
|
|
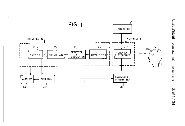
A Fitting Patent Issued on Hitler's Birthday: Apparatus for Remote Electronic Monitoring and Alteration of Brain Waves
U.S. Patent# 3,951,134: Apparatus and Method for Remotely Monitoring and Altering Brain Waves
(Click images for enlarged views)
"SUMMARY OF THE INVENTION
The present invention relates to apparatus and a method for a monitoring brain waves wherein all components of the apparatus are remote from the test subject. More specifically, high frequency transmissions are operated to radiate electromagnetic energy of different frequencies through antennaes which are capable of scanning the entire brain or any desired region thereof.
The signals of different frequencies penetrate the skull of the subject and impinge upon the brain where they mix to yeild an interference wave modulated by radiations from the brain's natural activity. The modulated interference wave is re-transmitted by the brain and received by an antennae at a remote station where it is demodulated, and processed to provide a profile of the subject's brain waves.
In addition to passively monitoring his brain waves, the subject's neurological processes may be affected by transmitting to his brain, through a transmitter, compensating signals. The latter signals can be derived from the received and processed brain waves."
According to the patent, "the radio frequency power divider can be any conventional VHF, UHF or SHF frequency range device constructed to provide, at three outputs a signal identical in frequency to that applied to its input."
Television works in UHF and VHF frequencies, and is an ideal transmitter because it supplements the initial transmissions with powerful audio/visual stimulation. Targeting of key areas of the brain associated with emotion, such as the medulla oblongata (anger) and pre-frontal cortex (depression) is achieved through the transmission of processed brain waves, brain waves which need not be your own, but an altered generic signal created from those received from earlier test subjects (subjects whose brain waves were received and processed in a controlled environment). |
|
|
|
The RFK Assassination
When they arrived at the estate of actress Sharon Tate, they were taking "handfuls" of acid and each Family member had an extra set of clothes. It was the summer of 1969. When the Manson Family left the Tate residence, the pregnant actress would be found butchered along with several others in a killing spree that shocked the nation. What became known as the the Tate-LaBianca murders was actually an attempt to start a race war-- with Charles Manson hoping to pin the blame on the Black Panthers.
The swastika carved in Manson's forehead is there for a reason.
Instrumental to conditioning is the isolation of the subjects. David Koresh and Jim Jones, for instance-- their doomed subjects were all products of calculated isolation done to insure success in behaviour modification. Manson chose the Spahn Ranch, an abandoned movie set in the middle of the desert where followers could trip for days on endless supplies of LSD. Similarly, Koresh chose Waco, and Jones chose Guyana-- all are isolated, remote places, or were. (See The Psychosocial Manipulation of the Human Population.)
And what Manson did was prove one could be programmed to kill.
On June 5, 1968, a group calling itself America United held a press conference in Westwood, near the UCLA campus. But it was just a two-man show of Hilder and Steinbacher. The pamphlet accurately described the true nature of the Freemasons and several of its branches, including the Illuminati, the Theosopists, the Rosicrucians. (Notably absent was the KKK.) Yes, the Illuminati did begin in Bavaria in 1776 under Adam Weishaupt, and yes, this occult fraternity was formed to wage Satan's war against Christianity. That's why, by 1884, several European countries had been forced to attack Freemasonry in Holland, Austria, Switzerland, Spain, Bavaria, Savoy and other parts of Italy. They were attacked either through special enactments branding the society as pernicious and criminal, or through delating the masons to the Catholic Church.
But there was one outstanding truth in Steinbacher's prattle: "The success of the Illuminati lay in enlisting the services of dupes, and by encouraging the fantasies of honest visionaries or the schemes of fanatics, by flattering the vanity of the ambitious, and by playing upon the passion for wealth and power. It was this way that the Illuminati were able to secure the services of countless thousands."
And isn't it strange that Steinbacher and Hilder would bring up the issue of the Illuminati on June 5th 1968, the day of RFK's murder, when it was only years later that it would be disclosed that Sirhan made numerous references to the Illuminati in his notebook in the weeks before he shot RFK? How did Hilder and Steinbacher know the Illuminati was involved in the RFK killing years before the disclosure, unless they knew Sirhan or his accomplices beforehand? Sirhan was in fact, a Rosicrucian freemason. And claimed he was a member of the Illuminati.
On June 3, 1968, Jerry Owen, a Santa Ana televangelist, stopped at a Los Angeles sporting goods store to pick up a robe, shoes and trunks for a boxer he had an interest in. He was going to drop them off in Hollywood to decorate them with shamrocks for a fighter named O'Reilly.
While he stopped at a red light at 7th and Grand, two young men-- one of them allegedly Sirhan Sirhan-- asked for ride, and hopped into the back without waiting for answer. At a stoplight at Wilshire and Vermont, the pair got out and the taller one began talking to a well-dressed man about 35, and a "dirty blonde girl" about 21. He noted that the pair were sporting the same occult medallions around their necks. These people would emerge again at the Ambassador Hotel.
In the RFK murder, hypnosis would play role in the assassination. Sirhan was practicing autohypnosis techniques in the days leading up to the assassinations. To this end Sirhan used candles and mirrors, for instance. And the trigger mechanism is almost certainly the words "port wine", since he was in the kitchen shortly before shooting RFK. This Sirhan had scrawled into his diary numerous times, along with the unusual repetition of the lines "RFK must be assassinated", which was written over and over again until it filled the page.
Even though the LAPD would soon use hypnosis in investigative techniques and did not question its potential for misuse, defense attornies for Sirhan like Luke McKissack refused to allow his client access to a hypnotherapist to investigate whether or not the trigger mechanism for the post-hypnotic response was scrawled in his notebook.
Knowing what we know about Charles Manson's hypnoconditioning of his family of killers and the CIA's MK-ULTRA mind control program that sought to perfect the programmed assassin; there has been no effort to deprogram Sirhan to ascertain who sent him and why, or if he took LSD before the murder; or to reveal the identity of the "Master" who approached him as he wrote in his notebook, or to ask whether or not he and James Earl Ray had ties to the same CIA hypnoconditioner, Dr. Williams Joseph Bryan, Jr. Bryant, if you recall, bragged about his role in the murders before his suspicious death in a Las Vegas hotel room in 1977, precisely when Congress was investigating the link between the King and Kennedy assassinations.
Around the time King and RFK were killed, Mick Jagger was heavily involved in the occult. Anita Pallenberg, a former German model and self-proclaimed witch, was then sleeping with Keith Richards and Brian Jones. Jones, later found dead in his swimming pool, even claimed to "have a witch's teat". This occult influence reflected in their music for several years. In 1969 and '68, respectively, the Rolling Stones released
Their Satanic Majesty's Request, and in an earlier hit from Beggar's Banquet, "Sympathy for the Devil", Jagger writes:
"Please allow me to introduce myself
I'm a man of wealth and taste
I've been around for a long, long year
stole many a man's soul and faith
I was 'round when Jesus Christ
had his moment of doubt and pain
made damn sure that Pilate
washed his hands, and sealed his fate
Pleased to meet you. Won't you guess my name?
But what's puzzling you is the nature of my game
I stuck around St. Petersburg
'til I saw it was a time for a change
killed the Czar and his ministers
Anastasia screamed in vain
I rode a tank, held a general's rank
when the blitzkriegs raged
and the bodies stank
pleased to meet you won't you guess my name?
I watched with glee
while your kings and queens
fought for ten decades
for the Gods they made
I shouted out who killed the Kennedys?
when after all it was you and me
let me please introduce myself
I'm a man of wealth and taste
and I lay traps for troubadours
who get killed before they reach Bombay...
Just as every cop is a criminal
and all the sinners saints
as heads is tails
just call me Lucifer
'cause I'm in need of
some restraint...
So if you meet me have some courtesy
have some sympathy, and some taste
use all your well-learned politesse
or I'll lay your soul to waste..."
True to the spirit of lyrical troubadour knights that flourished from the 11th to the end of 13th century-- Jagger delivers a profoundly succinct and narrative lyric that traces the path of the devil throughout history. Even he notes the Kennedy assassinations are linked, and moreover, he alludes to the Freemasons through the mention of doomed troubadours and the fight of kings and queens over ten decades "for the Gods they made." Ten decades marks the centennial parallel between the Lincoln and Kennedy assassination. And he alludes to the Nazis, and the Communist revolution alluded to decades earlier in Pike's letter to Mazzini. Most telling is his reference to Lucifer; as both world wars were envisioned by the Luciferian freemasons Pike and Mazzini.
Operation Artichoke
As early as the late fifties, CIA Director Allen Dulles was experimenting with the use of LSD and hypnosis to program assassins in a project called "Operation Artichoke". At first they experimented with colored prisoners, and then moved on to soldiers in the disastrous Bay of Pigs invasion.
And Charles Manson, having spent most of his life in California prisons during that time; he may have witnessed the experiment conducted first hand. He would soon program a family of murderers using exactly the same technique the CIA used in their experiments-- a combination of LSD and hypnosis. Hypnoconditioning was employed in the Bay of Pigs invasion to prevent Castro's interrogators from determining who sent the CIA/Mafia hit teams.
For example, the implanted post-hypnotic suggestion can be used to conceal the hypnoconditioner's identity after the killing: "When you are asked your date of birth, your mind will become blank. You will laugh uncontrollably, and say that everything you have said up to that point is a lie."
In the programmed assassin, post-hypnotic suggestions are also used to trigger the LSD flashback; bringing the subject into a preconditioned kill mode fashioned by the hypnoconditioner.
Prior to programming, the subject is screened to ensure a high ranking in the Hypnotic-Induction Profile used to select the killer. Sirhan Sirhan was Grade 5, the most susceptible personality profile. He had a dissociative personality that could be manipulated to produce another ego state-- the killer. The programmed response might be triggered by a visual and/or verbal cue; the latter employing a second operative. The cue could even be the sight of a girl in a polka dot dress. Anyone who has ever experimented with acid knows flashbacks can take place years or months after the initial experiment. These flashbacks usually come about unpredictably, on their own. But given the proper trigger at the right time, especially when the trip was reinforced with hypnosis, the potential for disaster increases exponentially. The flashback, incidentally, is not a physiological, but psychological process.
There have been cases where men have been convicted for using hypnoconditioning to induce others to perform a murder. To this day people shudder at Charles Manson's infamous ability to hypnotize and control his followers to this day. During the trial women followers shaved off their hair and carved swastikas into their foreheads, picketing the Los Angeles Criminal Courthouse building. Later, another Manson Family member, "Squeaky" Fromme, would try to kill President Ford in front of a San Francisco Hell Fire Club, a club of ancient occult origins now known as hangouts for sado-masochistic freemasons. Ford himself was on the infamous Warren Commission handpicked by John F. Kennedy's true killer-- President Lyndon Baines Johnson. Even Manson seemed to know who killed JFK.